1 Introduction
The PIC18F4550 DEMO Board is a simplified version of the Microchip
Demo Board. Most of the Microchip examples can be tested with this
board. Samples, the schematics, installation guide etc. are available
for download on the Microchip
web..
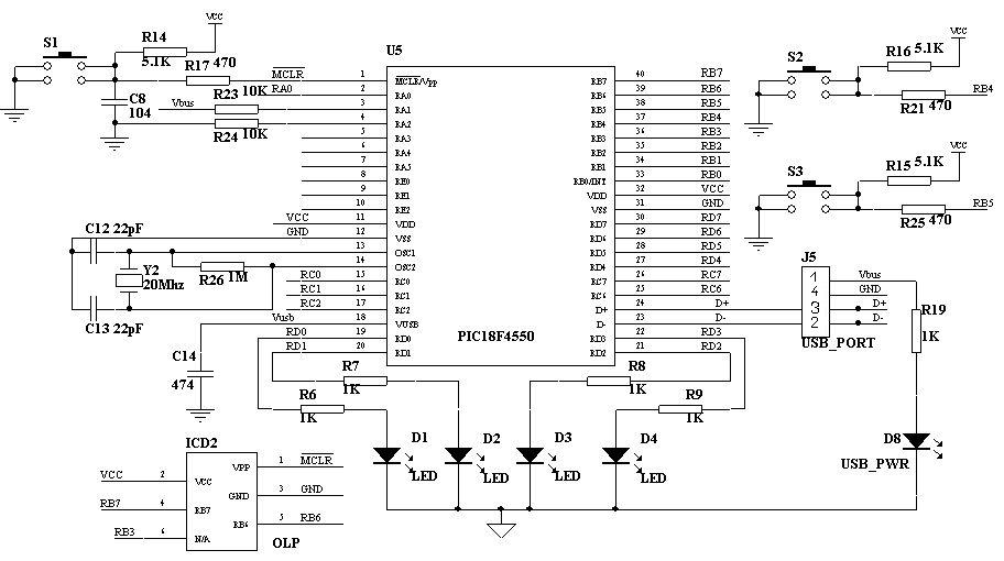
2 Hardware

Figure 1: Schematics for the PIC18F4550 USB Demo
Board
I found this schematic in the internet. Because I do not know the
author, I can not outine his name here. The original schematics
stems from Microchip. I built the board on a bread board.
It toke me around 6 hours to run a first test application.
3 Software
The whole softare and the description of the Microchip Demo board
including the bootloader and the upload program can be foundh here
on the Microchip web.
Programmierung des PIC18F4550
Before the upload utility of Microchip can be used, th PIC18F4550
bootloader has to be programmed on the PIC. This can e.g. be done
with the "PIC Brenner" of SPRUT.
Before programming the bootloader
to the PIC it is necessary to set the following configureation bits:
Configuration bit |
Settings |
| Full speed USB Source Selection |
Clock src from 96MHz PLL/2 |
| CPU System Clock Postscaler |
[OSC1/OSC2 Src; /4][96MHz PLL Src: /6]Divide
by 5 (20MHz input) |
| Oscillator |
HS: HS+PLL, USB-HS |
| Fail-Safe Clock Monitor Enable |
Disabled |
| Internal External Switch Over Mode |
Disabled |
| USB Voltage Regulator |
Enabled |
| Power Up Timer |
Enabled |
| Brown Out Detect |
Disabled in hardware, SBOREN disabled |
| Brown Out Voltage |
4.5V |
| Watchdog Timer |
Disabled-Controlled by SWDTEN bit |
| Watchdog Postscaler |
1:1 |
| CCP2 Mux |
RC1 |
| PortB A/D Enable |
PORTB<4:0> configured as digital I/O
on Reset |
| Low Power Timer1 Osc enable |
Disabled |
| Master Clear Enable |
MCLR Enabled, RE3 Disabled |
| Stack Overflow Reset |
Disabled |
| Low Voltage Program |
Disabled |
| Dedicated In-Circuit Port (ICD/ICSP) |
Disabled |
| Extended CPU Enable |
Disabled |
| All left options are Disabled |
Disabled |
Figure 2: Configuration bits of the PIC Brenner
Built on a bread board the full equipped board looks as shown in
figure 3. Voltagte creation is done by a l7805 (not shown in the
schematics above) some capacitors and a protection diode.

Figure 3: Full equipped PIC18F4550 USB Demo board
on a breadboard
And finally the bottom view of the board:

Figure 4: Bottom view of the PIC18F4550 USB Demo
Board
4 First installation
The easies test to check if the hardware and the software works
fine is to use the examples provided by Microchip.
Programming of the PIC 18F4550 Demo Board
Programming of th ePIC 18F4550 Demo Board is done using the bootloader
utility priovided by Microchip using USB. The utility can be found
in the sub directory of the demo software under: /PC/PDFSUSB/PDFSUSB.EXE.
Performing the upload, hold switch S2 pressed and press S1 for a
short time (Reset). After that, the PIC is in bootloader mode. If
the connection has been established a list of available PIC 18F4550
USB Demo Boards is show in the Listbox of the upload utility. After
selecting the corresponding board the firmware can be uploaded to
the demo board. Examples can be found in the sub directory of the
demo software e.g. /fw/Demo/_output/MCHPUSB.hex. Finally the device
is programmed by pressing the button "Program Device".
If programming was successful the text "Programming Flash Completed"
can be seen in the text field of the upload utility.
The functions can now be tested with the MS Windows consoloe application
located in the sub directory \Pc\Mpusbapi\Example Applications\Borland_C\Example
01 - Load-time Linking\_console.exe.
5 USB API for Borland Delphi
Microchip provides an easy interface written in c++ to the USB
API. I ported the interface to Borland Delphi. The Delphi USPAPI-Interace
and a demo program can be dowloaded below.
Figure 5 shows a screen shot of the demo program. The "function
Write an Read Data" sends 48 data bytes to the PIC. The PIC
reads the data, adds a 1 and sends the data package back to the
personal computer.

Figure 5: Screen shot of an example program that
used the PIC USBAPI
6 Links
You can find some further interesting stuff about PICs on
-
Webseite von Sprut (probable
"THE" web page about PIC micro controllers, basics,
examples, tutorial, hints, tricks, projects) (only in German
Language)
-
PICos18 (introduction,
tutorials, libraries)
-
Alen Macecks Webseite
(small project with the USB-PIC18F2550)
-
Spark Fun Electronics
(examples and libraries)
-
Free
Pic Development Programmer for MS-Windows by Ch. Stadler
-
Webseite von Harald
Sattler (In Circuit Debugger, very interesting projects)
-
MicrochipC.com (examples,
libraries, projects)
 |
For a special project I made some USB prototyping boards called AKKON
USB CONTROLLER board. If you are interested you will find
some further information
here.
|
7 Download
| No |
Type |
Download files |
Description |
| 0 |
 |
USBAPI
for Delphi |
Interface for USBAPI for Borland Delphi
inclduing a demo program and source code for PC and PIC |
| |
|
|
|
|